
一年多后牛操盘,宗馥莉再次辞职。
第一次是2024年7月,辞呈中给出的原因是,杭州市上城区人民政府及娃哈哈集团部分股东就其自宗庆后董事长离世后对娃哈哈集团经营管理的合理性提出质疑,致使其无法继续履行对娃哈哈集团及其持股公司的管理职责。
这一次,有消息人士表示,宗馥莉此次辞职,是因为商标使用“不合规”,宗馥莉决定经营自己的品牌“娃小宗”。
从“以退为进”到“另起炉灶”,其间娃哈哈商标的纷争时起,引发关注。新品牌“娃小宗”也并非首次出现在公众视野,今年5月12日,娃哈哈就通过官方账号发布了一款名为“娃小宗”的无糖茶新品。
最新的消息是,10月10日娃哈哈集团召开董事会,除了通过宗馥莉辞职事项外,还任命许思敏为娃哈哈集团总经理,董事长职务空缺。
多家娃哈哈关联公司更名为宏胜,“娃小宗”已开微博
据多家媒体报道,宗馥莉已于9月12日向娃哈哈集团有限公司辞去公司法定代表人、董事及董事长等相关职务并已通过集团股东会和董事会的相关程序。一名消息人士表示,宗馥莉此次辞职,是因为商标使用“不合规”,宗馥莉决定经营自己的品牌“娃小宗”。
南方+记者查询发现,工商信息显示,目前,杭州娃哈哈集团有限公司未发生变更,法定代表人是宗馥莉。娃哈哈股权结构方面,杭州市上城区文商旅投资控股集团有限公司(国资)持股46%,宗馥莉个人仍持股29.4%,基层工会(职工持股会)持有24.6%。
同时,“娃小宗”已在微博注册账号,认证主体为宏胜饮料集团有限公司。该公司成立于2003年,最初为娃哈哈代工厂,现以饮料为主业,同时经营饮料上游产业链配料生产、高端装备制造、印刷包装,提供饮料生产全产业链解决方案。
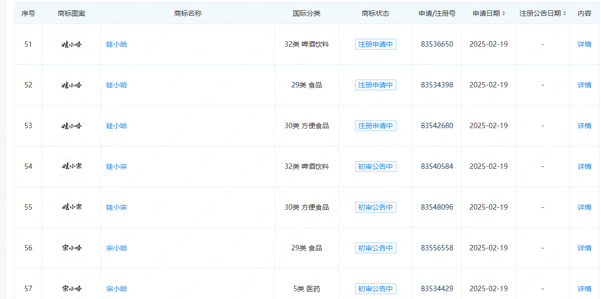
企查查APP显示,今年以来,该公司申请多枚“娃小宗”“宗小哈”“娃小哈”商标,商标状态多处于“初审公告中”。此外,近期牛操盘,已有多家娃哈哈关联公司更名为宏胜,包括西双版纳娃哈哈饮料有限公司更名为西双版纳宏胜饮料有限公司、新乡娃哈哈昌盛饮料有限公司更名为新乡宏胜饮料有限公司等。

今年以来,宏胜申请多枚“娃小宗”“宗小哈”“娃小哈”商标

近期,已有多家娃哈哈关联公司更名为宏胜
今年9月,一份宏胜系企业下发的《关于开展2026销售年度经销商沟通工作的通知》(下称《通知》)显示,“在现行股权架构下,‘娃哈哈’商标的使用,须获得娃哈哈集团全体股东的一致同意,否则任何一方均无权使用。”

今年9月,一份宏胜系企业下发《关于开展2026销售年度经销商沟通工作的通知》
有分析认为,宗馥莉放弃娃哈哈集团治理权,可彻底摆脱第一大股东与原有体系的制约,全力运作自有品牌“娃小宗”。该品牌归属宏胜旗下,无需受制于娃哈哈集团股东会,相当于为她掌控的关联企业开辟了“独立战场”,其此前推动的人事改革、数字化布局,或已为新品牌铺路。
娃哈哈商标纷争不断,“宏胜系”另起炉灶
娃哈哈商标之争并非突然发生。上述《通知》显示,自娃哈哈集团创始人离世后,公司一直努力推进解决各项历史相关遗留问题,为维护“娃哈哈”品牌使用的合规性,公司决定从2026年新的销售年度起,更换使用新品牌“娃小宗”。
该《通知》的日期为9月12日,落款企业一共7家,均是由宗馥莉实际控制的“宏胜系”,包括杭州娃哈哈宏辉食品饮料有限公司、浙江娃哈哈食品饮料营销有限公司、杭州宏胜营销有限公司、拉萨宏胜营销有限公司等。
同样在今年9月,娃哈哈一子公司品牌使用权被收回的消息引发关注。
时间线可追溯至2024年7月:彼时,娃哈哈集团要求娃哈哈上海水厂,将一次性桶装水的销售权转让给宏辉公司,而宏辉公司又是宗馥莉实际控制的宏胜集团100%控股。几乎同一时期,娃哈哈集团又发函要求娃哈哈上海水厂停止使用娃哈哈商标,后者虽回函请求沟通,却始终无法联系到宗馥莉本人。
娃哈哈集团向上海金山区市场监督管理局举报娃哈哈上海水厂侵犯商标权,该局随即对娃哈哈上海水厂的产品及物资实施查封,导致其工厂全面停产,上下游合作也彻底中断。

今年9月,娃哈哈上海工厂推出“沪小娃”品牌桶装水
再早一些时间,今年2月,娃哈哈曾因商标转让问题引发舆论争议。当时,公司发布声明称,“娃哈哈”系列商标共计387件正在国家知识产权局申请由杭州娃哈哈集团有限公司转让至杭州娃哈哈食品有限公司。
声明称,“娃哈哈”系列商标初始登记在集团公司名下,食品公司成立时,娃哈哈集团曾以该系列商标作为出资注入食品公司,获得其39%股权。这一商标出资经过评估并获主管部门批准,同时部分商标以资产转让方式由食品公司向集团公司购买。
据此,食品公司获得“娃哈哈”系列商标所有权,集团公司则持有食品公司39%股权。声明同时指出,双方曾按规定提交商标转让申请,但因集团公司与外资公司之间的历史纠纷,未能完成转让登记备案。
新品牌娃小宗,能突出重围吗
认证主体为“杭州娃哈哈集团有限公司”的公众号“哈哈号角”曾在今年5月份的一篇文章中展示了娃小宗的一款茶饮品,但在线上购物平台,记者尚未检索到该款产品。

今年5月12日,娃哈哈通过官方账号发布了一款名为“娃小宗”的无糖茶新品
商标是企业的核心资产,根据品牌评估机构GYBrand的2024中国最具价值品牌500强名单,娃哈哈品牌价值高达911.87亿元。世界品牌实验室的数据显示,2024年娃哈哈的品牌价值达到896.09亿元。
有娃哈哈集团员工今年9月接受媒体采访时表示,娃小宗将来并不能成为第二个娃哈哈,因为娃哈哈这个品牌有着几十年的积淀,而且娃小宗这款产品在娃哈哈内部工厂并未生产过,更多是样品的形式存在。
依托宏胜的娃小宗,其优势之一则在于渠道。据报道,2025销售年度,包括西藏、青海、黑龙江、北京等在内的14个市场的经销商,其合作主体从娃哈哈集团变更为宏胜饮料集团旗下的销售公司。
实际上,宗馥莉并非第一次创立新品牌。早在2016年,宗馥莉便曾创立自己的饮料品牌KELLYONE。“KELLY”是宗馥莉的英文名,该品牌聚焦一、二线城市新生代人群,旗下涵盖果蔬汁、茶饮料以及气泡水等产品。
据媒体此前报道,KELLYONE在社交媒体与事件营销上花了不少心思,曾经尝试通过影视推广、KOL矩阵推广、音乐节合作、异类品牌合作、户外媒体、创意快闪店等当下年轻人喜欢的方式进行品牌推广。然而,目前KELLYONE线上店铺处于停摆状态,记者在一大型网购平台检索KELLYONE旗舰店,发现店铺内无产品。

记者在一大型网购平台检索KELLYONE旗舰店,发现店铺内无产品
南方+记者 朱红鲜 张晋牛操盘
天盛优配提示:文章来自网络,不代表本站观点。